
6
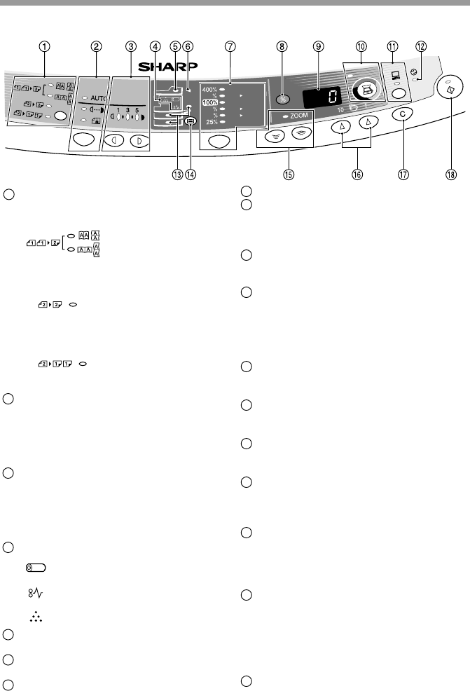
OPERATION PANEL
AL-1555
A5
A4
A4
B5
A4
A5
141
86
70
Original to copy key and indicators
(AL-1555)
Two-sided copies from
one-sided originals.
Turn on Long Edge or
Turn on Short Edge
can be selected.
Two-sided copies from
two-sided originals. (Can
be selected only when
the RSPF is used.)
Single-sided copies
from two-sided
originals. (Can be
selected only when the
RSPF is used.)
Exposure mode selector key and
indicators
Use to sequentially select the exposure
modes: AUTO, MANUAL or PHOTO.
Selected mode is shown by a lit
indicator. (p.49)
Light and dark keys and exposure
indicators
Use to adjust the MANUAL or PHOTO
exposure level. Selected exposure level is
shown by a lit indicator. (p.49) Use to start
and terminate user program setting. (p.55)
Alarm indicators
Drum replacement required
indicator (p.58)
Misfeed indicator (p.63)
TD cartridge replacement
required indicator (p.57)
SPF/RSPF indicator (p.48)
(AL-1255/AL-1456/AL-1555)
SPF/RSPF misfeed indicator (p.66)
(AL-1255/AL-1456/AL-1555)
Copy ratio selector key and
indicators
Use to sequentially select preset
reduction/enlargement copy ratios.
Selected copy ratio is shown by a lit
indicator. (p.51)
1
2
3
4
5
6
7
Copy ratio display (%) key (p.51)
Display
Displays the specified copy quantity,
zoom copy ratio, user program code,
and error code.
SCANNER key and indicator
(p.31, p.38)
(AL-1255/AL-1456/AL-1555)
ON LINE key and indicator
Lights up when the unit is used as a
printer and scanner. For description of
the ON LINE indicator, see
"INDICATORS ON THE OPERATION
PANEL" (p.31).
Power save indicator
Lights up when the unit is in a power
save mode. (p.54, p.55)
Paper feed location indicators
Light up to show the selected paper
feed station.
Tray select key (AL-1456/AL-1555)
Use to select a paper feed station
(paper tray or multi-bypass tray). (p.53)
Zoom keys and indicator
Use to select any reduction or
enlargement copy ratio from 25% to
400% in 1% increments. (p.51)
Copy quantity keys
• Use to select the desired copy
quantity (1 to 99). (p.49)
• Use to make user program entries.
(p.55)
Clear key
• Press to clear the display, or press
during a copy run to terminate
copying. (p.49)
• Press and hold down during standby
to display the total number of copies
made to date. (p.56)
Start key and indicator
• Copying is possible when the
indicator is on.
• Press to start copying
• Use to set a user program. (p.55)
8
9
10
11
12
13
14
15
16
17
18
Comments to this Manuals