
1-4
PART NAMES AND FUNCTIONS
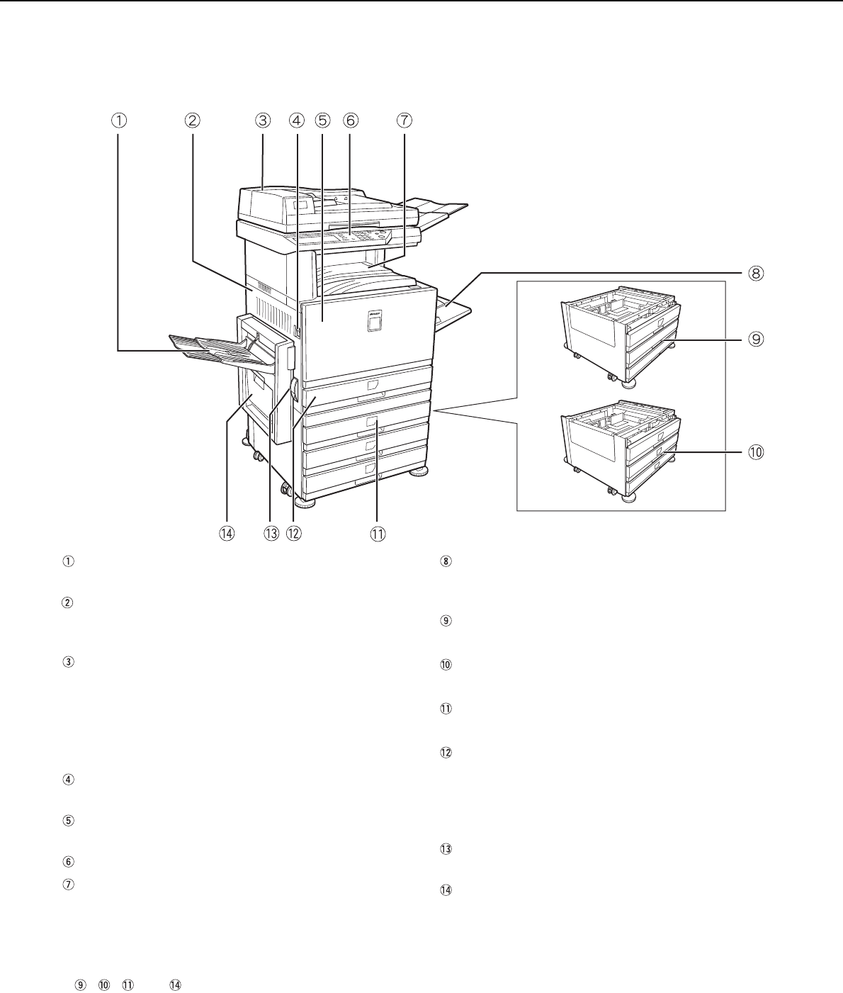
Exterior
Left tray (See page 5-5)
Finished sheets are deposited here.
Left side cover
Open this cover when a paper misfeed occurs in
the fusing unit or the transfer unit.
Reversing automatic document feeder
(See page 4-2)
This automatically feeds originals to be scanned.
The feeder can turn the original over and scan the
back side as well as the front side for support of
two-sided originals.
Power switch
Press to turn power on and off.
Front cover
Open to replace toner cartridge.
Operation panel
Center tray (See page 5-5)
Finished sheets are deposited here.
Bypass tray
Special papers (including transparency film) and
copy paper can be fed from the bypass tray.
Stand/1 x 500 sheet paper drawer*
(See page 2-7)
Stand/3 x 500 sheet paper drawer*
(See page 2-7)
Duplex module/2 x 500 sheet paper drawer*
(See page 2-8)
Paper tray
Each tray can hold approximately 500 sheets of the
recommended paper for color (21 lbs. or 80 g/m
2
),
or approximately 500 sheets of SHARP standard
paper (21 lbs. or 80 g/m
2
).
Left side cover release
Push this release up to open the left side cover.
Duplex bypass/inverter unit and exit tray* (See
page 1-6)
* , , and are peripheral devices. For a description of these devices, see page 1-6.
sec_whale_01_1.fm 4 ページ 2004年9月16日 木曜日 午前10時35分
Comments to this Manuals