
5-2
ÐÀÇÄÅË5
( P. 5-2, 5-3)
( P. 5-4)
( P. 5-5)
( P. 5-6)
( P. 5-7)
( P. 5-9)
(
→→
→→
→ Ñòð. 5-2, 5-3)
(
→→
→→
→ Ñòð. 5-6)
(
→→
→→
→ Ñòð. 5-7)
(
→→
→→
→ Ñòð. 5-9)
(
→→
→→
→ Ñòð. 5-4)
(
→→
→→
→ Ñòð. 5-5)
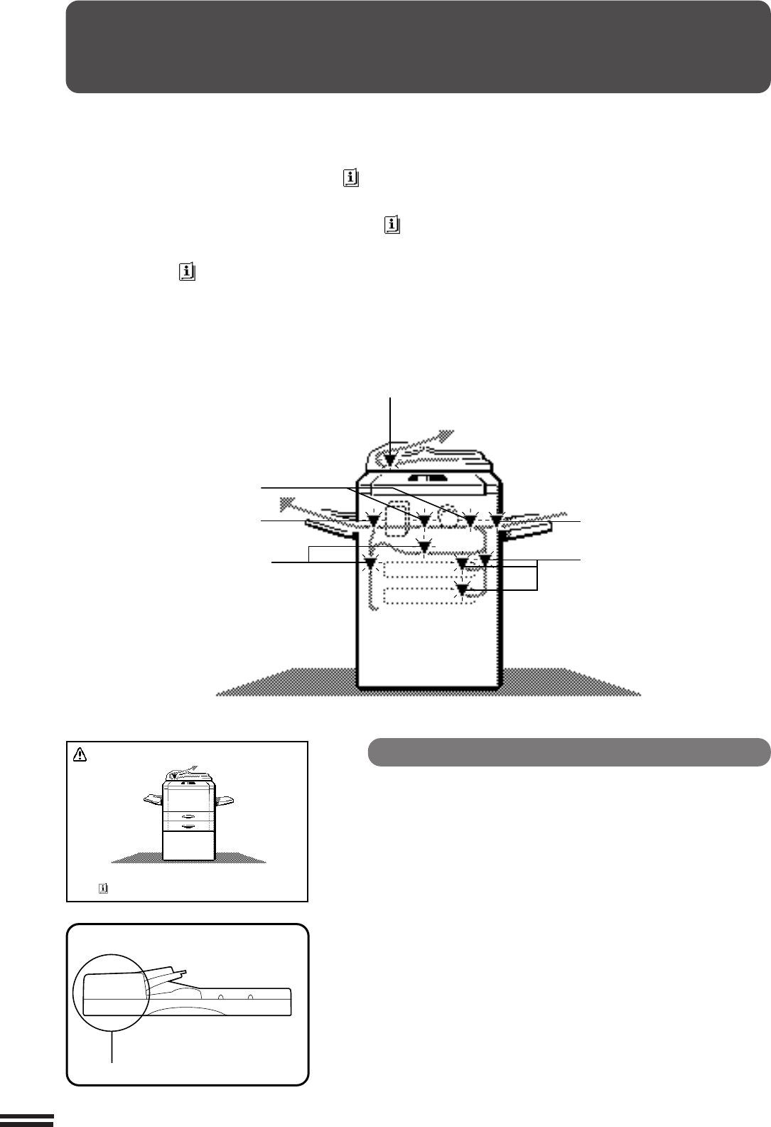
ÈÇÂËÅ×ÅÍÈÅ ÇÀÑÒÐßÂØÈÕ ÎÐÈÃÈÍÀËÎÂ È ÁÓÌÀÃÈ
ÍÅÈÑÏÐÀÂÍÎÑÒÈ?
Èçâëå÷åíèå çàñòðÿâøèõ îðèãèíàëîâ è áóìàãè
A
Ïðè çàñòðåâàíèè îðèãèíàëà èëè ëèñòà áóìàãè
êîïèð ïðåêðàòèò ðàáîòó.
Íà äèñïëåå óêàçàíèÿ ìåñòà çàñòðåâàíèÿ ëèñòà
ïîÿâèòñÿ ñîîáùåíèå "A MISFEED HAS OCCURED.
CLEAR INDICATED AREA. PRESS FOR
RECOVERY INSTRUCTIONS." (Ïðîèçîøëî
çàñòðåâàíèå. Èçâëåêèòå ëèñò èç
óêàçàííîãî ìåñòà. Íàæìèòå íà êíîïêó
äëÿ ïîëó÷åíèÿ äîïîëíèòåëüíûõ ñâåäåíèé.)
Íàæìèòå íà èíôîðìàöèîííóþ êíîïêó
INFORMATION ( ), åñëè íåîáõîäèìî ïîëó÷èòü
áîëåå ïîäðîáíóþ èíôîðìàöèþ.
Åñëè ëèñò ïðè èçâëå÷åíèè áóäåò ñëó÷àéíî
ïîðâàí, óáåäèòåñü â òîì, ÷òî íè îäèí èç êóñêîâ
ëèñòà íå áóäåò îñòàâëåí âíóòðè êîïèðà. Áóäüòå
âíèìàòåëüíû ñ òåì, ÷òîáû íå ïîâðåäèòü
ôîòîïðîâîäÿùèé áàðàáàí èëè ïðîâîäà
êîðîòðîíà.
Ïðåæäå âñåãî îïðåäåëèòå ìåñòî çàñòðåâàíèÿ.
Åñëè çàñòðåâàíèå ïðîèçîøëî â äîïîëíèòåëüíî ïîäêëþ÷åííûõ
ê êîïèðó óñòðîéñòâàõ, âíèìàòåëüíî îñìîòðèòå ýòè
äîïîëíèòåëüíûå óñòðîéñòâà. (Ñì. ñòð. 7-14, 7-28, 7-32 è 7-36)
Ïðè çàñòðåâàíèè îðèãèíàëà â óñòðîéñòâå ïîäà÷è SPF
êîïèð ïðåêðàòèò ðàáîòó è íà äèñïëåå ïîÿâèòñÿ
ïðåäóïðåæäàþùåå ñîîáùåíèå.
Çàñòðåâàíèå ïðîèçîøëî â óñòðîéñòâå SPF (AR-281)
Çàñòðåâàíèå îðèãèíàëà âîçìîæíî íà ó÷àñòêå (À).
A MISFEED HAS OCCURRED.
CLEAR INDICATED AREA.
PRESS FOR RECOVERY INSTRUCTIONS.
Comments to this Manuals